中(zhong)國1954年(nian)才開(kai)始推(tui)廣使(shi)用瓦(wa)楞紙(zhi)箱,而(er)且技(ji)術起(qi)點非(fei)常低(di),
處于(yu)半手(shou)工單(dan)機生(sheng)産狀(zhuang)态,設(she)備差(cha)、産量(liang)低、質(zhi)量差(cha),勞動(dong)力密(mi)集🥑️,
勞(lao)動強(qiang)度高(gao)。但是(shi)改革(ge)開放(fang)以來(lai),我國(guo)瓦楞(leng)紙箱(xiang)行👩🏽🐰👩🏿業(ye)增長(zhang)幅度(du)在世(shi)界
各(ge)大生(sheng)産國(guo)中名(ming)列首(shou)位。1995年(nian)我國(guo)瓦楞(leng)紙闆(pan)年産(chan)量達(da)到74. 00億(yi)平
方(fang)米,占(zhan)世界(jie)總産(chan)量6. 70-/0;1999年(nian)爲113. 50億(yi)平方(fang)米,占(zhan)世界(jie)總
産(chan)量9.3%;四(si)年時(shi)間總(zong)産量(liang)增加(jia)近40億(yi)平方(fang)米,年(nian)遞增(zeng)率😝爲(wei)
11.3%,大大(da)高于(yu)世界(jie)平均(jun)增長(zhang)率。2000年(nian)瓦楞(leng)紙闆(pan)生産(chan)量持(chi)續增(zeng)長
至(zhi)123. 00億平(ping)方米(mi),占世(shi)界總(zong)産量(liang)的比(bi)率已(yi)經達(da)到9.8%,接(jie)近世(shi)界ˇ
産(chan)量的(de)十分(fen)之一(yi)。随着(zhe)世界(jie)加工(gong)制造(zao)業重(zhong)心向(xiang)中國(guo)轉移(yi),我國(guo)☠️包裝(zhuang)行
業(ye)特别(bie)是瓦(wa)楞紙(zhi)箱行(hang)業的(de)發展(zhan)速度(du)更快(kuai)。據統(tong)計,2003年(nian)中國(guo)瓦楞(leng)
紙箱(xiang)年銷(xiao)售量(liang)達到(dao)了158億(yi)平方(fang)米,超(chao)過了(le)日本(ben),僅次(ci)🔞于美(mei)國,位(wei)居
世(shi)界第(di)二。而(er)2008年更(geng)是達(da)到了(le)200億平(ping)方米(mi)的銷(xiao)量。
随着(zhe)世界(jie)經濟(ji)和現(xian)代物(wu)流系(xi)統的(de)快速(su)發展(zhan),許多(duo)适合(he)😁不同(tong)需要(yao)
的、性(xing)價比(bi)更高(gao)、結構(gou)新穎(ying)、功能(neng)更強(qiang)的瓦(wa)楞紙(zhi)箱不(bu)斷出(chu)現🎅🏿,這(zhe)🧑🏻❤️🧑🏼些瓦(wa)
楞紙(zhi)箱不(bu)同于(yu)上述(shu)各種(zhong)标準(zhun)類型(xing)的紙(zhi)箱,往(wang)往是(shi)🧑🏻❤️🧑🏼國際(ji)紙箱(xiang)箱型(xing)标準(zhun)頒
布(bu)以後(hou)出現(xian)的,因(yin)此也(ye)被稱(cheng)爲非(fei)标準(zhun)瓦楞(leng)紙箱(xiang)或😌特(te)🛀🏼殊功(gong)能的(de)🥑️瓦楞(leng)紙
箱(xiang)。圖1 – 18至(zhi)圖l- 26是(shi)幾種(zhong)比較(jiao)常見(jian)的功(gong)能型(xing)瓦楞(leng)紙箱(xiang)。
特殊(shu)功能(neng)的瓦(wa)楞紙(zhi)箱充(chong)分體(ti)現了(le)現代(dai)包裝(zhuang)技術(shu)🏃🏿♀️➡️的發(fa)展方(fang)向,它(ta)的
關(guan)鍵技(ji)術是(shi)對傳(chuan)統紙(zhi)箱與(yu)瓦楞(leng)紙闆(pan)進行(hang)改性(xing)和對(dui)傳統(tong)瓦💔楞(leng)紙箱(xiang)結構(gou)進
行(hang)功能(neng)設計(ji)和創(chuang)新。
功(gong)能型(xing)瓦楞(leng)紙箱(xiang)的種(zhong)類繁(fan)多,加(jia)工方(fang)法多(duo)種多(duo)樣,使(shi)用效(xiao)果也(ye)⛹🏻♂️是
随(sui)所包(bao)裝的(de)産品(pin)和儲(chu)運環(huan)境的(de)不同(tong)而不(bu)同,主(zhu)要有(you)💕以☠️下(xia)幾種(zhong)⛹🏻♀️。
1.防盜(dao)瓦楞(leng)紙箱(xiang)
爲了(le)防止(zhi)商品(pin)在運(yun)輸過(guo)程中(zhong)失竊(qie),DavifidS.smith公司(si)推出(chu)了一(yi)種新(xin)🤶🏾型防(fang)竊包(bao)裝紙(zhi)箱。在(zai)遭偷(tou)竊時(shi),會撕(si)毀或(huo)損壞(huai)整個(ge)紙箱(xiang)。目
前(qian),這種(zhong)包裝(zhuang)紙箱(xiang)已被(bei)那些(xie)在供(gong)應鏈(lian)中存(cun)在嚴(yan)重失(shi)竊問(wen)題💯的(de)商家(jia)所
采(cai)用。
2.防(fang)水防(fang)潮瓦(wa)楞紙(zhi)箱
普(pu)通瓦(wa)楞紙(zhi)箱的(de)防水(shui)性和(he)防潮(chao)性都(dou)比較(jiao)差,而(er)現在(zai)防水(shui)和防(fang)潮瓦(wa)
楞紙(zhi)箱極(ji)其常(chang)用,因(yin)此日(ri)本科(ke)研人(ren)員開(kai)發了(le)一種(zhong)🔞新型(xing)防水(shui)型包(bao)裝箱(xiang),
其中(zhong)含有(you)可水(shui)解的(de)樹脂(zhi),防水(shui)防潮(chao)性能(neng)好,并(bing)可降(jiang)解,便(bian)于循(xun)環再(zai)
利用(yong)。
3.複用(yong)托盤(pan)化紙(zhi)箱
歐(ou)洲Tfiwall公(gong)司生(sheng)産的(de)大Traypak三(san)層闆(pan)複用(yong)托盤(pan)化瓦(wa)楞紙(zhi)箱,
包(bao)含一(yi)個筒(tong)狀箱(xiang)身和(he)兩個(ge)可作(zuo)底淺(qian)盤或(huo)箱蓋(gai)的真(zhen)空成(cheng)型蓋(gai)。這種(zhong)新型(xing)
紙箱(xiang)适合(he)構成(cheng)整體(ti)托盤(pan),并可(ke)重複(fu)利用(yong)。
4.防腐(fu)蝕瓦(wa)楞紙(zhi)箱
英(ying)國Mondi包(bao)裝公(gong)司與(yu)Omegalntercept公司(si)共同(tong)合作(zuo)開發(fa)出了(le)一
系(xi)列防(fang)腐蝕(shi)特性(xing)的瓦(wa)楞紙(zhi)箱。該(gai)包裝(zhuang)紙箱(xiang)體現(xian)了環(huan)保功(gong)能,用(yong)🤶🏾完後(hou)和
普(pu)通瓦(wa)楞紙(zhi)箱一(yi)樣易(yi)于循(xun)環使(shi)用。文(wen)章由(you)深圳(zhen)印刷(shua)廠
海(hai)倫印(yin)刷編(bian)輯
5.新(xin)型薄(bao)紙闆(pan)瓦楞(leng)紙箱(xiang)
英國(guo)一公(gong)司研(yan)制出(chu)一種(zhong)新型(xing)薄紙(zhi)闆包(bao)裝箱(xiang),用于(yu)食品(pin)、辦公(gong)🤑用紙(zhi)
等的(de)包裝(zhuang)。這種(zhong)薄紙(zhi)箱分(fen)上下(xia)獨立(li)的兩(liang)部分(fen),下部(bu)分㊙️約(yue)占整(zheng)個紙(zhi)箱高(gao)
度的(de)1/3,兩側(ce)有兩(liang)個把(ba)手。
6.防(fang)止害(hai)蟲的(de)瓦楞(leng)紙箱(xiang)
美國(guo)開發(fa)了一(yi)種叫(jiao)做Repelkote的(de)塗料(liao),能夠(gou)防止(zhi)害蟲(chong)在包(bao)裝🧎🏻♀️➡️産(chan)😍
品中(zhong)滋生(sheng),比如(ru)大米(mi)、玉米(mi)粉、面(mian)粉、使(shi)用面(mian)糊、幹(gan)谷類(lei)、烘烤(kao)混合(he)
料、餅(bing)幹、幹(gan)燥寵(chong)物食(shi)品、速(su)食食(shi)品混(hun)合料(liao)、紡織(zhi)品、水(shui)果鮮(xian)花和(he)✍🏻蔬😗
菜(cai)等。據(ju)了解(jie),此項(xiang)技術(shu)能将(jiang)香精(jing)油納(na)入塗(tu)層溶(rong)液中(zhong),将其(qi)用于(yu)底
層(ceng),通過(guo)活性(xing)成分(fen)的受(shou)控釋(shi)放來(lai)驅趕(gan)害蟲(chong),從而(er)不💞會(hui)👩🏼❤️👨🏾再有(you)😌因樣(yang)🧑🏾🎄品受(shou)污
染(ran)所導(dao)緻的(de)退貨(huo),而且(qie)還降(jiang)低了(le)成本(ben)。
7.保鮮(xian)瓦楞(leng)紙箱(xiang)
保鮮(xian)瓦楞(leng)紙箱(xiang)具有(you)隔熱(re)功能(neng)。利用(yong)瓦楞(leng)紙箱(xiang)低溫(wen)儲藏(cang)是👩🏽🐰👩🏿目(mu)前食(shi)品
保(bao)鮮的(de)有效(xiao)手段(duan)。具有(you)隔熱(re)功能(neng)的瓦(wa)楞紙(zhi)箱,就(jiu)是在(zai)👯🏾♂️傳統(tong)箱内(nei)、外包(bao) 裝襯(chen)上複(fu)合樹(shu)脂和(he)鋁蒸(zheng)鍍膜(mo),或🔞在(zai)紙芯(xin)中加(jia)入發(fa)泡樹(shu)脂🥑️,使(shi)其具(ju)有優(you)
良的(de)隔熱(re)性,防(fang)止在(zai)流通(tong)途中(zhong)蔬菜(cai)水果(guo)自身(shen)溫度(du)升高(gao),達到(dao)保鮮(xian)的
目(mu)的。
1.按(an)形狀(zhuang)分類(lei)
(1)方形(xing)箱。這(zhe)類紙(zhi)箱爲(wei)正立(li)方體(ti),即長(zhang)、寬、高(gao)尺寸(cun)均相(xiang)👩🍼同。
(2)高(gao)形箱(xiang)。這類(lei)紙箱(xiang)高度(du)尺寸(cun)較大(da),長、寬(kuan)尺寸(cun)較小(xiao),且
相(xiang)等。
(3)扁(bian)形箱(xiang)。這類(lei)紙箱(xiang)長度(du)尺寸(cun)較大(da),寬、高(gao)尺寸(cun)較小(xiao),且相(xiang)等。
2.按(an)紙箱(xiang)組裝(zhuang)方式(shi)分類(lei)
(1)單片(pian)箱。這(zhe)類紙(zhi)箱用(yong)裁切(qie)好的(de)一張(zhang)瓦楞(leng)紙闆(pan)即可(ke)組合(he)成箱(xiang)。
(2)兩片(pian)箱。這(zhe)類紙(zhi)箱用(yong)兩張(zhang)裁切(qie)好的(de)瓦楞(leng)紙闆(pan)組合(he)成🧜🏼♀️箱(xiang)。
(3)三片(pian)箱。這(zhe)類紙(zhi)箱用(yong)三張(zhang)裁切(qie)好的(de)瓦楞(leng)紙闆(pan)組合(he)成箱(xiang)。
3.按所(suo)用瓦(wa)楞紙(zhi)闆分(fen)類
(1)單(dan)瓦楞(leng)紙箱(xiang)。這類(lei)紙箱(xiang)采用(yong)單瓦(wa)楞紙(zhi)闆,目(mu)前多(duo)使👩🏽🐰👩🏿用(yong)這種(zhong)紙
闆(pan)成箱(xiang)。
(2)雙瓦(wa)楞紙(zhi)箱。這(zhe)類紙(zhi)箱采(cai)用雙(shuang)瓦楞(leng)紙闆(pan),它綜(zong)合性(xing)😁能較(jiao)好,
多(duo)用于(yu)包裝(zhuang)易損(sun)物品(pin)、重物(wu)品以(yi)及需(xu)要長(zhang)期保(bao)存的(de)物品(pin)。
(3)三瓦(wa)楞紙(zhi)箱。這(zhe)類紙(zhi)箱采(cai)用三(san)瓦楞(leng)紙闆(pan),其強(qiang)度最(zui)好,可(ke)代
替(ti)木箱(xiang)包裝(zhuang)重型(xing)設備(bei),一般(ban)與托(tuo)盤或(huo)集裝(zhuang)箱配(pei)合使(shi)用🤑。
4.按(an)箱蓋(gai)形式(shi)分類(lei)
(1)單開(kai)蓋箱(xiang)。這類(lei)紙箱(xiang)的箱(xiang)蓋爲(wei)一頁(ye),其端(duan)爲插(cha)舌,将(jiang)箱蓋(gai)覆😗
蓋(gai)于箱(xiang)體,插(cha)舌插(cha)入闆(pan)縫中(zhong)即可(ke)封合(he)。
(2)雙開(kai)蓋箱(xiang)。這類(lei)紙箱(xiang)的箱(xiang)蓋爲(wei)兩頁(ye),将其(qi)左右(you)旋轉(zhuan),即可(ke)封
合(he)箱體(ti)。
(3)帽蓋(gai)箱。又(you)稱罩(zhao)蓋箱(xiang),這類(lei)紙箱(xiang)的箱(xiang)蓋與(yu)箱體(ti)分離(li),将箱(xiang)👨🦰蓋
套(tao)裝在(zai)箱體(ti)上即(ji)成蓋(gai)封。蓋(gai)封時(shi)形成(cheng)雙層(ceng)箱壁(bi),可提(ti)高紙(zhi)箱強(qiang)度。
楞(leng)紙箱(xiang)的基(ji)本箱(xiang)型分(fen)爲三(san)種(見(jian)表1-5)。
(1) 02型即(ji)開槽(cao)型紙(zhi)箱。
(2) 03型(xing)即套(tao)合型(xing)紙箱(xiang)。
(3) 04型即(ji)折疊(die)型紙(zhi)箱。同(tong)時将(jiang)瓦楞(leng)紙箱(xiang)的内(nei)配件(jian)部分(fen)以“紙(zhi)
箱附(fu)件”的(de)條目(mu)單獨(du)另列(lie)。此外(wai),在瓦(wa)楞紙(zhi)箱的(de)尺寸(cun)規格(ge)條目(mu)中将(jiang)紙
箱(xiang)的箱(xiang)底面(mian)積分(fen)爲三(san)種系(xi)列即(ji):1)400mm×600mm、400mm×300mm、
400mm×200mm、400mm×150mm;②300mm×200mm、300mm×
130mm. 300mm xlOOmm;③200mm×150mm、200mm×133mm。
我國(guo)的瓦(wa)楞紙(zhi)箱箱(xiang)型由(you)國家(jia)标準(zhun)局批(pi)準實(shi)施的(de)GB 6543-1986瓦
楞(leng)紙箱(xiang)國家(jia)标準(zhun),關于(yu)箱型(xing)和代(dai)号的(de)規定(ding),基本(ben)上也(ye)采😺用(yong)👩🍼了😺歐(ou)洲瓦(wa)楞
紙(zhi)箱協(xie)會的(de)分類(lei)方法(fa),但依(yi)據我(wo)國實(shi)際情(qing)況有(you)所改(gai)動,我(wo)國标(biao)✍🏻準将(jiang)瓦楞(leng)紙箱(xiang)的基(ji)本箱(xiang)型分(fen)爲三(san)種🙆🏿(見(jian)表1-5)。
(1) 02型(xing)即開(kai)槽型(xing)紙箱(xiang)。
(2) 03型即(ji)套合(he)型紙(zhi)箱。
(3) 04型(xing)即折(she)疊型(xing)紙箱(xiang)。同時(shi)将瓦(wa)楞紙(zhi)箱的(de)内配(pei)件部(bu)分以(yi)“紙
箱(xiang)附件(jian)”的條(tiao)目單(dan)獨另(ling)列。此(ci)外,在(zai)瓦楞(leng)紙箱(xiang)的尺(chi)寸規(gui)格條(tiao)~目中(zhong)将紙(zhi)
箱的(de)箱底(di)面積(ji)分爲(wei)三種(zhong)系列(lie)即:1)400mm×600mm、400mm×300mm、
400mm×200mm、400mm×150mm;②300mm×200mm、300mm×
130mm. 300mm xlOOmm;③200mm×150mm、200mm×133mm。
(4) 04型(折(she)疊型(xing)紙箱(xiang))。折疊(die)型紙(zhi)箱通(tong)常隻(zhi)需用(yong)一片(pian)瓦楞(leng)🥑️紙闆(pan)
便可(ke)折疊(die)組成(cheng)整個(ge)箱體(ti)的側(ce)面、底(di)和蓋(gai),無須(xu)釘合(he)或糊(hu)合,隻(zhi)需折(she)疊
即(ji)能成(cheng)型。這(zhe)種紙(zhi)箱可(ke)帶有(you)鎖口(kou)、提手(shou)、展示(shi)窗、展(zhan)示架(jia)等結(jie)構性(xing)附
件(jian),能直(zhi)接看(kan)到紙(zhi)箱内(nei)所裝(zhuang)的商(shang)品,廣(guang)泛應(ying)用于(yu)超市(shi)的商(shang)品展(zhan)銷。這(zhe)
種紙(zhi)箱多(duo)爲中(zhong)小型(xing)包裝(zhuang)箱,多(duo)用E型(xing)、B型或(huo)微型(xing)瓦楞(leng)紙闆(pan)制作(zuo)。這
種(zhong)紙箱(xiang)共有(you)50多種(zhong)樣式(shi),圖1 -13是(shi)其中(zhong)的兩(liang)種。
(5) 05型(xing)(滑蓋(gai)型紙(zhi)箱)。滑(hua)蓋型(xing)紙箱(xiang)由數(shu)片楞(leng)向不(bu)同的(de)内
裝(zhuang)箱、框(kuang)架、隔(ge)闆與(yu)外箱(xiang)等組(zu)成,内(nei)外箱(xiang)以相(xiang)對方(fang)向運(yun)動而(er)封合(he),
這種(zhong)紙箱(xiang)用料(liao)較省(sheng),但加(jia)工工(gong)藝較(jiao)複雜(za),多用(yong)于制(zhi)作較(jiao)小😝型(xing)的包(bao)
裝箱(xiang)(盒)使(shi)用,這(zhe)種紙(zhi)箱樣(yang)式較(jiao)少,有(you)9種,圖(tu)1 – 14是其(qi)中
的(de)兩種(zhong)。
(6) 06型(固(gu)定型(xing)紙箱(xiang))。固定(ding)型紙(zhi)箱由(you)三片(pian)瓦楞(leng)紙闆(pan)組成(cheng),
其中(zhong)一片(pian)爲主(zhu)箱體(ti),另兩(liang)片爲(wei)分離(li)的端(duan)面,端(duan)面和(he)箱體(ti)靠箱(xiang)釘、
膠(jiao)帶或(huo)膠黏(nian)劑封(feng)合成(cheng)本箱(xiang),成型(xing)後無(wu)法展(zhan)平,比(bi)較費(fei)工時(shi),适合(he)🧛🏽
包裝(zhuang)易碎(sui)品、大(da)體積(ji)物品(pin)。但樣(yang)式也(ye)較少(shao)有9種(zhong)。圖1 – 15是(shi)其
中(zhong)兩種(zhong)。由深(shen)圳印(yin)刷廠(chang)
海倫(lun)印刷(shua)編輯(ji)
(7) 07型(xing)(預粘(zhan)自動(dong)型紙(zhi)箱)。預(yu)粘自(zi)動型(xing)紙箱(xiang)由一(yi)片瓦(wa)楞紙(zhi)闆
構(gou)成,制(zhi)成品(pin)可以(yi)展平(ping)便于(yu)運輸(shu),節約(yue)成本(ben)。這種(zhong)紙箱(xiang)隻👹要(yao)打開(kai)即可(ke)自動(dong)封合(he)成型(xing),這類(lei)紙箱(xiang)多用(yong)于中(zhong)、小型(xing)包裝(zhuang)箱👨🦰(盒(he))使用(yong),其樣(yang)式
有(you)20種,圖(tu)1 -16是其(qi)中的(de)三種(zhong)。
(8) 09型(内(nei)附件(jian))。附件(jian)型紙(zhi)箱内(nei)襯附(fu)件有(you)平闆(pan)型、平(ping)套型(xing)、
直套(tao)型、隔(ge)闆型(xing)、充填(tian)型和(he)角型(xing)等。内(nei)附件(jian)可用(yong)于定(ding)😌位、緩(huan)👩🏼❤️👨🏾沖、分(fen)
隔、加(jia)強紙(zhi)箱中(zhong)的商(shang)品。樣(yang)式較(jiao)多,有(you)45種。圖(tu)1 – 17是其(qi)中四(si)種。
2.我(wo)國瓦(wa)楞紙(zhi)箱箱(xiang)型分(fen)類
我(wo)國的(de)瓦楞(leng)紙箱(xiang)箱型(xing)由國(guo)家标(biao)準局(ju)批準(zhun)實施(shi)的GB 6543-1986瓦(wa)
楞紙(zhi)箱國(guo)家标(biao)準,關(guan)于箱(xiang)型和(he)代号(hao)的規(gui)定,基(ji)本上(shang)🏃🏻♀️也💌采(cai)用了(le)歐洲(zhou)瓦楞(leng)
紙箱(xiang)協會(hui)的分(fen)類方(fang)法,但(dan)依據(ju)我國(guo)實際(ji)情況(kuang)有所(suo)改動(dong),我🚶🏾♀️➡️國(guo)标準(zhun)将瓦(wa)
瓦(wa)楞紙(zhi)箱的(de)種類(lei)多,結(jie)構多(duo)變,不(bu)同箱(xiang)型結(jie)構瓦(wa)楞紙(zhi)箱的(de)包裝(zhuang)功
能(neng)和紙(zhi)箱的(de)綜合(he)物理(li)性能(neng)有一(yi)定的(de)差别(bie),因此(ci)還應(ying)該💑🏾對(dui)瓦楞(leng)紙箱(xiang)的箱(xiang)
型結(jie)構方(fang)式進(jin)行科(ke)學合(he)理、準(zhun)确細(xi)緻的(de)分類(lei),以便(bian)于紙(zhi)箱設(she)計、生(sheng)
産、使(shi)用等(deng)多方(fang)面的(de)參照(zhao)和交(jiao)流。
1.紙(zhi)箱箱(xiang)型的(de)國際(ji)分類(lei)與特(te)性
世(shi)界各(ge)國對(dui)紙箱(xiang)的箱(xiang)型有(you)不同(tong)的分(fen)類方(fang)式,目(mu)前國(guo)際👺瓦(wa)楞紙(zhi)😸箱箱(xiang)
型标(biao)準有(you)兩大(da)類:一(yi)類是(shi)經國(guo)際瓦(wa)楞紙(zhi)闆協(xie)會(ICCA)批(pi)準😵💫,由(you)歐
洲(zhou)瓦楞(leng)紙箱(xiang)制造(zao)商聯(lian)合會(hui)和歐(ou)洲同(tong)質紙(zhi)闆組(zu)織( ESBO)合(he)作制(zhi)定的(de)
“國際(ji)瓦楞(leng)紙箱(xiang)”,箱包(bao)含有(you)比較(jiao)完整(zheng)的箱(xiang)型,該(gai)标準(zhun)對結(jie)構繁(fan)雜又(you)較
難(nan)描述(shu)的各(ge)種基(ji)本箱(xiang)型結(jie)構作(zuo)了比(bi)較科(ke)學而(er)詳盡(jin)的分(fen)類,制(zhi)👀定了(le)一套(tao)
數字(zi)标志(zhi)系統(tong),利用(yong)4-8位數(shu)字描(miao)述紙(zhi)箱的(de)各種(zhong)基本(ben)👌箱型(xing),如圖(tu)1 –
9所示(shi),這種(zhong)分類(lei)能使(shi)不同(tong)語言(yan)的設(she)計、生(sheng)産人(ren)員易(yi)于接(jie)受和(he)采👺用(yong)。
另一(yi)種是(shi)日本(ben)、美國(guo)等自(zi)己制(zhi)定的(de)國家(jia)标準(zhun)。文章(zhang)由深(shen)圳印(yin)刷廠(chang)
海倫(lun)印刷(shua)編輯(ji)
(1) 01箱(xiang)型。01箱(xiang)型是(shi)指瓦(wa)楞紙(zhi)闆,0100箱(xiang)型代(dai)表單(dan)面瓦(wa)楞紙(zhi)闆
卷(juan),可做(zuo)緩沖(chong)材料(liao),或成(cheng)爲0110箱(xiang)型的(de)雙面(mian)瓦楞(leng)紙闆(pan),如圖(tu)1 -10所示(shi)。
·
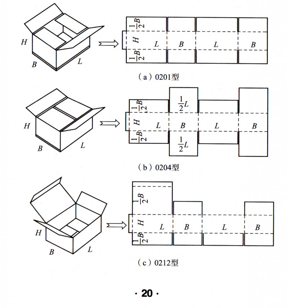
(2) 02箱型(xing)(開槽(cao)型紙(zhi)箱)。開(kai)槽型(xing)紙箱(xiang)是一(yi)種最(zui)常見(jian)的外(wai)包裝(zhuang)👩🏼❤️👨🏾
箱,它(ta)是由(you)一片(pian)瓦楞(leng)紙闆(pan)組成(cheng)的,無(wu)獨立(li)分離(li)的上(shang)下搖(yao)蓋💁🏼♀️,通(tong)過釘(ding)
合、黏(nian)合或(huo)用膠(jiao)帶粘(zhan)接等(deng)方法(fa)将箱(xiang)坯接(jie)合制(zhi)成箱(xiang)體👽,箱(xiang)體上(shang)下搖(yao)蓋可(ke)
以很(hen)方便(bian)地構(gou)成箱(xiang)底和(he)箱蓋(gai)。紙箱(xiang)制成(cheng)成品(pin)後在(zai)運✍🏻輸(shu)🏃🏻♀️儲放(fang)時可(ke)折疊(die)展
平(ping),使用(yong)時将(jiang)箱底(di)箱蓋(gai)封合(he)即可(ke)。這種(zhong)紙箱(xiang)有20多(duo)種🙈式(shi)樣😵💫,圖(tu)😁1 – 11
是其(qi)中的(de)四種(zhong),其中(zhong)0201型開(kai)槽式(shi)瓦楞(leng)紙箱(xiang)是目(mu)前應(ying)用最(zui)廣泛(fan)👩🏽🐰👩🏿的箱(xiang)
型,通(tong)常被(bei)稱爲(wei)标準(zhun)型的(de)外包(bao)裝瓦(wa)楞紙(zhi)箱結(jie)構箱(xiang)👱🏼♂️型。
(3) 03型(xing)(套合(he)型紙(zhi)箱)。套(tao)合型(xing)紙箱(xiang)一般(ban)由兩(liang)片或(huo)兩片(pian)以上(shang)瓦👹
楞(leng)紙闆(pan)組成(cheng),其特(te)點是(shi)箱體(ti)與箱(xiang)蓋分(fen)離,使(shi)用時(shi)才套(tao)接起(qi)~來構(gou)成箱(xiang)
體,箱(xiang)體正(zheng)放時(shi),箱蓋(gai)可以(yi)部分(fen)或完(wan)全正(zheng)确蓋(gai)住箱(xiang)體🏊🏾♀️。這(zhe)種箱(xiang)型一(yi)般
比(bi)較适(shi)合于(yu)堆疊(die)負載(zai)強度(du)要求(qiu)較高(gao)的包(bao)裝,03型(xing)紙箱(xiang)的式(shi)樣有(you)20多
種(zhong),圖1 -12是(shi)其中(zhong)的三(san)種。
瓦(wa)楞紙(zhi)箱種(zhong)類很(hen)多,并(bing)且不(bu)斷有(you)新品(pin)種瓦(wa)楞紙(zhi)箱🛀🏼出(chu)現,結(jie)構和(he)樣
式(shi)更加(jia)多種(zhong),使得(de)人們(men)從不(bu)同的(de)方面(mian)對瓦(wa)楞紙(zhi)箱進(jin)行分(fen)類,比(bi)👧🏾如制(zhi)造
方(fang)法、用(yong)途、質(zhi)量、樣(yang)式等(deng)。深圳(zhen)印刷(shua)廠
由(you)海倫(lun)印刷(shua)編輯(ji)
按紙(zhi)箱的(de)成型(xing)分類(lei)
按紙(zhi)箱的(de)加工(gong)成型(xing)方法(fa),瓦楞(leng)紙箱(xiang)分爲(wei)開槽(cao)型、結(jie)合型(xing)和折(she)🧜🏼♀️疊型(xing)
三種(zhong)。開槽(cao)型紙(zhi)箱是(shi)指由(you)一頁(ye)瓦楞(leng)紙闆(pan)經裁(cai)切、壓(ya)👱🏼♂️痕和(he)折疊(die)成型(xing),側面(mian)
折片(pian)要釘(ding)合或(huo)黏接(jie)。紙箱(xiang)不使(shi)用時(shi)可以(yi)折成(cheng)平闆(pan)🙂↔️狀,存(cun)放、儲(chu)運方(fang)
便。如(ru)02類紙(zhi)箱。
組(zu)合型(xing)紙箱(xiang)一般(ban)由兩(liang)件以(yi)上瓦(wa)楞紙(zhi)闆構(gou)成,箱(xiang)體、箱(xiang)蓋、箱(xiang)底分(fen)
開,使(shi)用時(shi)需要(yao)套合(he)成型(xing)。03類紙(zhi)箱屬(shu)于這(zhe)類。
折(she)疊型(xing)紙箱(xiang)是由(you)一頁(ye)瓦楞(leng)紙闆(pan)加工(gong)、折疊(die)成型(xing),不需(xu)😝要任(ren)何釘(ding)♌️合
或(huo)黏接(jie)。如04類(lei)紙箱(xiang)。
微(wei)型瓦(wa)楞紙(zhi)闆 微(wei)型瓦(wa)楞是(shi)近年(nian)來國(guo)外興(xing)起的(de)一種(zhong)新型(xing)瓦楞(leng)紙闆(pan),如F型(xing)、N 型、G型(xing)等。這(zhe)些微(wei)型瓦(wa)楞楞(leng)高更(geng)小👾,楞(leng)數更(geng)大,具(ju)有省(sheng)材,彈(dan)性 好(hao),緩沖(chong)性能(neng)高等(deng)特😥性(xing)。 微型(xing)瓦楞(leng)的優(you)點:耐(nai)破度(du)和撓(nao)伸性(xing)能佳(jia),優良(liang)的堆(dui)碼強(qiang)度和(he)對商(shang)品的(de)襯墊(nian)保💞護(hu)作用(yong),瓦楞(leng)平滑(hua)且具(ju)有更(geng)好的(de)印刷(shua)适性(xing)。微型(xing)瓦楞(leng)的顯(xian)
著特(te)點是(shi)比E型(xing)瓦楞(leng)更平(ping)滑和(he)具有(you)更好(hao)的印(yin)刷适(shi)性和(he)良好(hao)的加(jia)工性(xing)
能,在(zai)紙盒(he)加工(gong)中不(bu)需要(yao)調換(huan)原有(you)加工(gong)紙闆(pan)的滾(gun)㊙️筒模(mo)切機(ji)等設(she)備,甚(shen)
至可(ke)在平(ping)闆模(mo)切機(ji)上進(jin)行加(jia)工。由(you)于微(wei)型瓦(wa)楞紙(zhi)闆克(ke)重低(di),材料(liao)成本(ben)
也随(sui)之下(xia)降,加(jia)之它(ta)有上(shang)述優(you)良性(xing)能,其(qi)市場(chang)的競(jing)争力(li)也被(bei)業内(nei)人士(shi)
看好(hao)。深圳(zhen)印刷(shua)廠
由(you)海倫(lun)印刷(shua)編輯(ji)
微型(xing)瓦楞(leng)紙闆(pan)已被(bei)視爲(wei)未來(lai)瓦楞(leng)紙闆(pan)包材(cai)市場(chang)😘的主(zhu)💘流,因(yin)✡️爲它(ta)具
有(you)瓦楞(leng)紙闆(pan)及硬(ying)紙闆(pan)較佳(jia)的物(wu)理特(te)性和(he)印刷(shua)
品質(zhi)的雙(shuang)重效(xiao)果。美(mei)國、
德(de)國等(deng)國的(de)企業(ye)随着(zhe)對瓦(wa)楞楞(leng)型微(wei)型化(hua)的深(shen)入研(yan)究,将(jiang)傳統(tong)的A、B、
C、E等(deng)楞型(xing)擴展(zhan)到F、G、N楞(leng)型,總(zong)産值(zhi)約占(zhan)瓦楞(leng)紙闆(pan)總産(chan)值✋的(de)
8%。微型(xing)瓦楞(leng)紙闆(pan)将會(hui)逐漸(jian)取代(dai)硬紙(zhi)闆,如(ru)包裹(guo)箱、冷(leng)🙂↔️凍食(shi)品盒(he)及
重(zhong)型工(gong)業箱(xiang)等,尤(you)其是(shi)超過(guo)400 g/m2的紙(zhi)盒将(jiang)會被(bei)超薄(bao)楞所(suo)取😺代(dai)。可
以(yi)說,在(zai)小家(jia)電、五(wu)金工(gong)具、電(dian)腦軟(ruan)件、生(sheng)活器(qi)皿、玩(wan)具、快(kuai)餐等(deng)彩
盒(he)包裝(zhuang)上,微(wei)型瓦(wa)楞設(she)計将(jiang)掀起(qi)一個(ge)熱潮(chao)。目前(qian),以微(wei)型瓦(wa)🧑🏽🎄楞👽紙(zhi)👀闆取(qu)
代利(li)用彩(cai)印貼(tie)合的(de)E楞紙(zhi)已是(shi)趨勢(shi),大量(liang)的包(bao)裝用(yong)戶🧜🏼♀️使(shi)用硬(ying)紙闆(pan)裝
箱(xiang),而很(hen)多大(da)公司(si)已經(jing)開始(shi)改用(yong)G楞闆(pan)來裝(zhuang)箱。有(you)資料(liao)顯示(shi),超薄(bao)型
瓦(wa)楞紙(zhi)闆市(shi)場每(mei)年将(jiang)會以(yi)20%的驚(jing)人速(su)度增(zeng)長。
新(xin)品種(zhong)瓦楞(leng)紙闆(pan)有許(xu)多,還(hai)有四(si)層複(fu)合瓦(wa)楞紙(zhi)闆、K型(xing)複😘合(he)
瓦楞(leng)紙闆(pan)以及(ji)一些(xie)陸續(xu)開發(fa)出的(de)高強(qiang)度瓦(wa)楞紙(zhi)闆,保(bao)鮮瓦(wa)楞紙(zhi)闆、特(te)
殊功(gong)能瓦(wa)楞紙(zhi)闆品(pin)種,可(ke)謂是(shi)新産(chan)品層(ceng)出不(bu)窮,用(yong)途越(yue)來越(yue)廣🥑️。
蛇形(xing)瓦楞(leng)紙闆(pan)如圖(tu)1-8所示(shi),瓦
楞(leng)的楞(leng)峰與(yu)傳統(tong)的直(zhi)線形(xing)不同(tong),它呈(cheng)
蛇形(xing)彎曲(qu)。這種(zhong)瓦楞(leng)紙闆(pan)的最(zui)大優(you)點
是(shi)消除(chu)了瓦(wa)楞紙(zhi)闆垂(chui)直壓(ya)縮強(qiang)度與(yu)平
行(hang)壓縮(suo)強度(du)之間(jian)的差(cha)距,并(bing)且壓(ya)完楞(leng)
以後(hou),即使(shi)不與(yu)面紙(zhi)、裏紙(zhi)黏接(jie),瓦
楞(leng)楞形(xing)也能(neng)長期(qi)保持(chi)不變(bian),特别(bie)适合(he)
于取(qu)代傳(chuan)統的(de)單楞(leng)單面(mian)紙闆(pan)來作(zuo)爲玻(bo)
璃制(zhi)品的(de)内襯(chen)緩沖(chong)襯闆(pan)。
專業(ye)深圳(zhen)印刷(shua)廠,強(qiang)化深(shen)圳印(yin)刷包(bao)裝,講(jiang)述深(shen)圳印(yin)刷知(zhi)識 。